- Chemin de fer
- Tramway
- Console
- Transversaux porteurs
- Caténaire
- Croisements
- Ligne régularisée
- Sectionneurs / Alimentations
- Isolateurs de section
- Commande / électronique
- Plafond / Tunnel
- Système de dégivrage
- Outillages
- Trolleybus
- Console
- Transversaux porteurs
- Croisements
- Aiguillages
- Sectionneurs / Alimentations
- Isolateurs de section
- Sytèmes d'emperchage
- Équipement du véhicule
- Commande / électronique
- Plafond / Tunnel
- Outillages
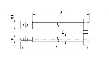
Barre porteuse pour poids en fonte ou en béton, L = 1810 mm pour max. 9 poids en béton resp. 13 poids en fonte
ajouté au panier
Afficher le panier
E0235-01
Dimension
B: 12 mmØ2: 20 mm
A: 1760 mm
Ø1: 17.5 mm
L: 1810 mm
Matériel et poids
Poids: 4.800 kgMatériel: Acier galv.