- Chemin de fer
- Tramway
- Console
- Transversaux porteurs
- Caténaire
- Croisements
- Ligne régularisée
- Sectionneurs / Alimentations
- Isolateurs de section
- Commande / électronique
- Plafond / Tunnel
- Système de dégivrage
- Outillages
- Trolleybus
- Console
- Transversaux porteurs
- Croisements
- Aiguillages
- Sectionneurs / Alimentations
- Isolateurs de section
- Sytèmes d'emperchage
- Équipement du véhicule
- Commande / électronique
- Plafond / Tunnel
- Outillages
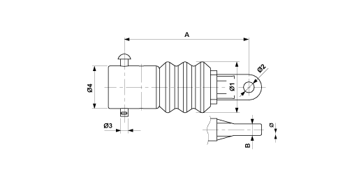
Isolateur de pied de console avec oreille complet, synthétique, sur tube 2" Schedule 80
ajouté au panier
Afficher le panier
D2372-04
Dimensions
B: 18 mmØ2: 17 mm
Ø3: 12 mm
Ø1: 80 mm
Ø4: 48.0 mm
A: 195 mm
Charges
Charge de rupture: 30 kNSpécification
Tension de service: max. 3.000 kVLigne de fuite minimal: 92 mm pour l'isolateur
Remarques
- Armatures de raccord en Al- Boulon rivé et goupille ondulée en acier inox
- Autres diamètres de tube sur demande