- Chemin de fer
- Tramway
- Console
- Transversaux porteurs
- Caténaire
- Croisements
- Ligne régularisée
- Sectionneurs / Alimentations
- Isolateurs de section
- Commande / électronique
- Plafond / Tunnel
- Système de dégivrage
- Outillages
- Trolleybus
- Console
- Transversaux porteurs
- Croisements
- Aiguillages
- Sectionneurs / Alimentations
- Isolateurs de section
- Sytèmes d'emperchage
- Équipement du véhicule
- Commande / électronique
- Plafond / Tunnel
- Outillages
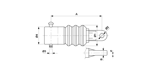
Isolateur de pied de console avec oreille complet, synthétique, sur tube G2" et 2" Schedule 40
ajouté au panier
Afficher le panier
D2372-02
Dimensions
B: 18 mmØ2: 17 mm
Ø3: 12 mm
Ø1: 80 mm
Ø4: 51.2 mm
A: 195 mm
Matériel et poids
Poids: 1.275 kgCharges
Charge de rupture: 30 kNSpécification
Ligne de fuite minimal: 92 mm pour l'isolateurTension de service: max. 3.000 kV
Remarques
- Armatures de raccord en Al- Boulon rivé et goupille ondulée en acier inox
- Autres diamètres de tube sur demande