- Chemin de fer
- Tramway
- Console
- Transversaux porteurs
- Caténaire
- Croisements
- Ligne régularisée
- Sectionneurs / Alimentations
- Isolateurs de section
- Commande / électronique
- Plafond / Tunnel
- Système de dégivrage
- Outillages
- Trolleybus
- Console
- Transversaux porteurs
- Croisements
- Aiguillages
- Sectionneurs / Alimentations
- Isolateurs de section
- Sytèmes d'emperchage
- Équipement du véhicule
- Commande / électronique
- Plafond / Tunnel
- Outillages
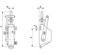
Commande manuelle, Levée 120 mm avec verrouillage, sans plaquette d'avis
ajouté au panier
Afficher le panier
B0420-01
Dimensions
Ø: 30 mmB: 30 mm
A: 130 mm
C: 1360 mm
E: 280 mm
F: 17 mm
Matériel et poids
Poids: 20.500 kgMatériel: Acier galv.
Remarques
- Pour sectionneur Duplex 3.6 kVPour sectionneur rotatif Alpha 36 kV
- Indiquer à la commande la forme de verrouillage voulue
- Forme de verrouillage, vois sous accessoires
- Plaquette d'avis en allemand référence D1196-01
(commander séparément)
- Plaquette d'avis en français référence D1196-02
(commander séparément)